找回密码
 立即注册
澳门威尼斯人
U8
U18
海燕招商
A
蓝盾
e世博
islot.
申博亚洲
澳门银河
B
腾博会
德信
C级广告商
吉祥坊
查看: 52346|回复: 74

[彩票] 【实战有奖】今天在金沙娱乐城玩彩票输了3毛

[复制链接]

1214

主题

3万

回帖

543

金币

铂金用户

积分
93233

老会员交易勋章光影行者

发表于 2025-6-14 16:07 | 显示全部楼层 |阅读模式

马上注册,结交更多好友,享用更多功能,让你轻松玩转社区。

您需要 登录 才可以下载或查看,没有账号?立即注册

×
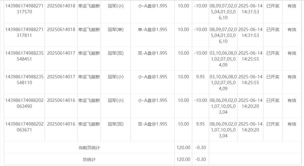
     今天去了金沙公司玩了一下彩票了啊。也是一个不错的运气的啊,本来也是要输了,但是不服气又多下了一期,结果就不输了。也是感觉不错的啊。* S6 @; c' Y. ~/ e$ Y( x/ }. s' K
9 h0 y2 c8 H) ~3 _1 {6 d! o! P$ y# r
     今天玩的是幸运飞艇了啊。也是玩的冠军位置了啊。
" w2 G2 y5 L* P$ r- P: T4 e      第一期我是下注了小和双的啊,每个都是10大洋的啊,结果开了出来,是大双的数字了啊。所以我也是一红一黑了啊。结果就是没有什么输赢的啊,所以感觉还是不错的啊。
9 }3 r: y/ Q9 T+ m2 J' n7 P     第2期呢,我是买了小和双的啊,也是下注了20大洋的啊,结果开了出来,也是小单了啊。那么我的投注也是红黑各半了啊。结果就是没有输赢,还是感觉好的啊。  z& F# U6 g! Y1 ]6 |
     第3期呢,我去买了小和单了啊。每个10元,不过结果就不好了啊。两个都没有中了。出的是大双的数字了啊。这样我就输了20元出去了啊。实在是比较的遗憾的啊。/ K" v/ M# x" q2 D$ x0 `7 i
     第4期呢,我买了大和双,是每个10元,结果出来啊。是小双的数字了啊。也是比较遗憾的结果的啊,虽然本期保持不输,但是总体还是输了的啊,还是输了20的啊。
6 p2 }0 F% K# ~. k3 R% P& v     第5期呢,我买了大和单了。结果出来,是小和单的啊。那么这样我就是也还是本期没有输钱的啊,但是总体还是输了20的啊,这20不知道什么时候回本了啊。我所以想再赌一把了啊。如果还是不出,我也是认了啊。
% h! _" [- N) B" f4 i( n, T     于是我下了第6期啦 。我买的是小和单各10元了啊。结果还不错了。果真是出了小单的数字了啊。那么这样本期我就赢了20,加上第3期输了的20,那么我就回本了啊。我就不输了啊。也是真不错的啊。
0 n0 X6 q: O- m2 k+ E. |! {# c1 C      6期下来,我打了一个平手了啊。没有亏损了啊。那3毛呢,只是亏水罢了。我也不放在心上了啊。5 ~/ H6 r- }3 l
       44.JPG 11.JPG 22.JPG 444.JPG , t- s# _8 ]6 w8 q, [, g
回复

使用道具 举报

1

主题

4994

回帖

4198

金币

金牌会员

积分
23389

老会员

发表于 2025-6-14 16:17 | 显示全部楼层
水钱都不够无所谓了,楼主今天玩的还是挺稳的
回复 支持 反对

使用道具 举报

46

主题

1万

回帖

1372

金币

金牌会员

积分
24942

老会员

发表于 2025-6-14 17:38 | 显示全部楼层
这样的亏损,就是可以忽略不计了,希望以后都能够有个好的结果了。
回复 支持 反对

使用道具 举报

3400

主题

4万

回帖

4136

金币

钻石用户

积分
116753

万时之王老会员勤奋勋章交易勋章

发表于 2025-6-14 18:02 | 显示全部楼层
这点损失也是可以忽略不计了啊, 大多本金在,还有机会了, 希望下次好运吧。
回复 支持 反对

使用道具 举报

3400

主题

4万

回帖

4136

金币

钻石用户

积分
116753

万时之王老会员勤奋勋章交易勋章

发表于 2025-6-14 18:02 | 显示全部楼层
十里变百里 发表于 2025-6-14 17:389 [2 p6 A7 L" y! |  ]
这样的亏损,就是可以忽略不计了,希望以后都能够有个好的结果了。

# L" O  ?5 [* E0 W0 g8 a7 U1 t" L: x彩票没什么收获了,还是去试下别的游戏吧, 说不定能够有所斩获啊。
回复 支持 反对

使用道具 举报

3400

主题

4万

回帖

4136

金币

钻石用户

积分
116753

万时之王老会员勤奋勋章交易勋章

发表于 2025-6-14 18:03 | 显示全部楼层
shunlifeiup 发表于 2025-6-14 16:17
8 P' q  x2 n& ]( S水钱都不够无所谓了,楼主今天玩的还是挺稳的

% a2 A) G1 O, d. |亏损水钱也不算很糟糕了啊,这个也是没什么影响了,还是调整下心态,争取下次打出好成绩。
回复 支持 反对

使用道具 举报

225

主题

1万

回帖

3147

金币

千足金牌会员

积分
46787

老会员

发表于 2025-6-14 18:59 | 显示全部楼层
这么稳定的下注筹码果然是可以的,下120总投之后,发现亏损直接就走人
回复 支持 反对

使用道具 举报

225

主题

1万

回帖

3147

金币

千足金牌会员

积分
46787

老会员

发表于 2025-6-14 19:01 | 显示全部楼层
莫扎特06 发表于 2025-6-14 18:02
) ~! a* ^' n) W8 F6 \2 |) t彩票没什么收获了,还是去试下别的游戏吧, 说不定能够有所斩获啊。

( u. h% Q. \) v# E5 @- i那是可以的,但是走势没有预期的稳定,能果断止损,是非常厉害的
回复 支持 反对

使用道具 举报

31

主题

5597

回帖

2209

金币

银牌会员

积分
16391

老会员

发表于 2025-6-14 19:36 | 显示全部楼层
没有损失还是不错的吧,这个结果也不是很差了
回复 支持 反对

使用道具 举报

6

主题

7761

回帖

4017

金币

金牌会员

积分
31538

老会员

发表于 2025-6-14 19:50 | 显示全部楼层
最后亏损了这么一点钱也只能认了,这个运气不行也是不要玩为好的
回复 支持 反对

使用道具 举报

6

主题

7761

回帖

4017

金币

金牌会员

积分
31538

老会员

发表于 2025-6-14 19:50 | 显示全部楼层
傻傻狠有福 发表于 2025-6-14 19:361 y- W) x9 G0 G8 y* x% V( g- d
没有损失还是不错的吧,这个结果也不是很差了

7 d$ G: D8 ?* F6 ]! E% m! a/ a& @亏损也是说明这个运气不行,还是不要玩这个为好的
回复 支持 反对

使用道具 举报

6

主题

7761

回帖

4017

金币

金牌会员

积分
31538

老会员

发表于 2025-6-14 19:51 | 显示全部楼层
hy188820 发表于 2025-6-14 19:01
( w& m% J# n/ ]那是可以的,但是走势没有预期的稳定,能果断止损,是非常厉害的

" x* l  T1 P! a$ O. p输了钱不太高兴也可以理解的,反正这个止损走人才有意思的
回复 支持 反对

使用道具 举报

6

主题

7761

回帖

4017

金币

金牌会员

积分
31538

老会员

发表于 2025-6-14 19:51 | 显示全部楼层
莫扎特06 发表于 2025-6-14 18:03/ P3 I, T2 p. c- U. K4 b& `
亏损水钱也不算很糟糕了啊,这个也是没什么影响了,还是调整下心态,争取下次打出好成绩。 ...
* Q1 Z; L! k8 ~* T
小亏损也是自己的钱,真的不计较也是不太现实的一件事了
回复 支持 反对

使用道具 举报

6

主题

7761

回帖

4017

金币

金牌会员

积分
31538

老会员

发表于 2025-6-14 19:51 | 显示全部楼层
十里变百里 发表于 2025-6-14 17:38
% E+ B; y; z! _  |4 ?这样的亏损,就是可以忽略不计了,希望以后都能够有个好的结果了。
" V3 O; S5 K# A+ h5 X( t$ b: f4 `
玩菠菜还是要看开了,这个也不能太较真了, 要适可而止了。
回复 支持 反对

使用道具 举报

480

主题

3万

回帖

4665

金币

铂金用户

积分
84327

老会员美女勋章勤奋勋章交易勋章

发表于 2025-6-14 19:52 | 显示全部楼层
输了一点下次多赢点就可以了,不会有什么影响最好了
回复 支持 反对

使用道具 举报

您需要登录后才可以回帖 登录 | 立即注册

本版积分规则

广告合作|福利汇|论坛简介|钱包教程|手机版|小黑屋|Archiver|海燕论坛

快速回复 返回顶部 返回列表