找回密码
 立即注册
澳门威尼斯人
U8
U18
海燕招商
A
蓝盾
e世博
islot.
申博亚洲
B
开云
腾博会
德信
C级广告商
吉祥坊
华体会
查看: 25920|回复: 74

[彩票] 【实战有奖】威尼斯人台湾宾果连挂后稳收,亏损2450止步

[复制链接]

82

主题

1万

回帖

4115

金币

千足金牌会员

积分
63719

老会员交易勋章魅力达人

发表于 2025-10-6 16:17 | 显示全部楼层 |阅读模式

马上注册,结交更多好友,享用更多功能,让你轻松玩转社区。

您需要 登录 才可以下载或查看,没有账号?立即注册

×
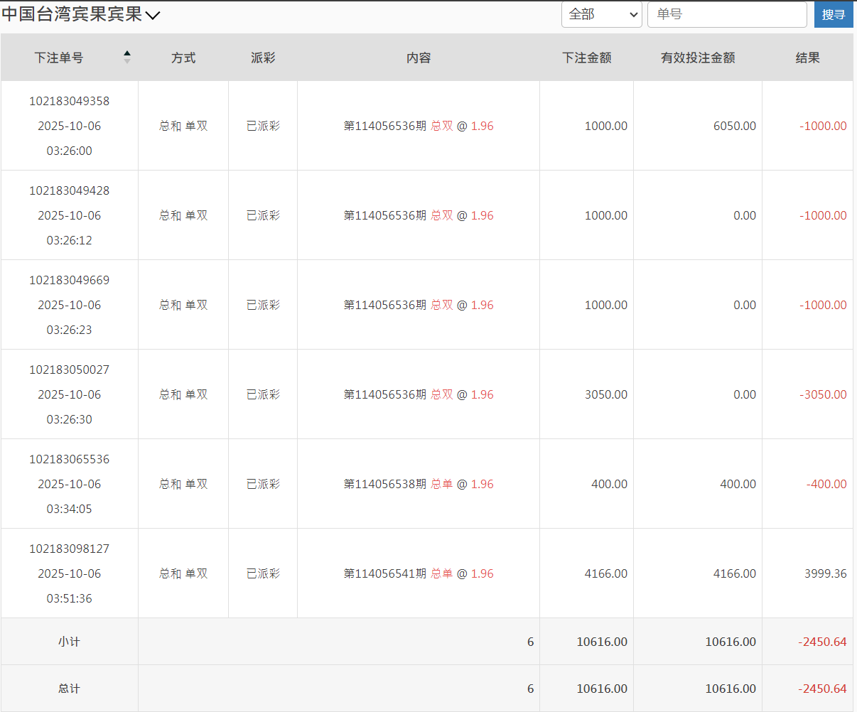
今天下午打了台湾宾果这一轮,整体过程挺曲折,但也算控制住了节奏。大概从下午三点左右开始进场,当时看走势总和“双”连开几期,手痒了,于是轻仓试单。原本打算随便玩玩,结果越看越不对劲,单双频繁切换,让人有点摸不清节奏。
2 H+ w' p+ w. ]7 b7 [' J% q) j% R
这轮总共下了六单,前几把基本都在试探走势。结果连续几期都反着来,尤其是那笔3050的“总双”,被直接吃掉,账面一口气红到三千多。那一瞬间心态确实有点晃,手差点又去补仓。后来想到之前吃亏的经验,强行让自己停手,看完那期结果就去洗了个脸。
% u& W5 A2 |: v  L" p( A( _; q2 C- E; D, G( C
回来后重新看走势图,发现节奏有点回稳,于是再上两把“总单”试水。最后一单我加到4166,打的第114056541期,终于中回来了3999.36,这口气算是稳了。整盘下来,亏了2450左右,折合人民币不到两千。6 M# j9 U+ D& i: v: N2 a  t
3 T0 Q9 ]) c/ U$ D% b
账面上虽然是负的,但我个人觉得这轮打得比前几次更“成熟”——不是赢多少的问题,而是我终于没再乱追。这次BBIN那边转入了10616,转出回大厅时剩8165,虽然账面亏损,但过程有节制、心态稳,算是一次小考合格。4 P/ \4 R# j. w. F
8 L* \  Q) Q* Q& E9 y3 x
过去我常常一看挂单就想加码“赢回来”,结果反而输更惨。现在我学会了一件事:赢钱靠机会,止损靠自律。只要不被情绪带走,长期来看反而能少损多赢。. M: @5 U- S+ f) S% ~  ^

; O' v  E) T1 y! ~/ G另外,这轮台湾宾果的走势挺诡异的,总和单双跳得快,没有出现连续7期以上的连号。下午那段时间尤其乱,建议后面玩这盘口的兄弟们注意节奏,不要被短线结果误导。可以像我这样——前几期用小注探路,等走势方向稳定后再加码。
# \1 p- s  c+ v4 l5 C" d+ ?& z5 v9 J5 V, N. X6 [# T6 ]; U
这次我还特地看了下注明细,总金额10616,有效投注全打满,亏损-2450.64。虽然是红的,但我反而挺高兴,因为这说明我守住了底线:没追加、没爆仓。
$ x- N5 g# R- w% n' j$ K: G* ^: ]* w, k9 j
最后总结一句:
0 ?" M' u2 }" m. M4 v1 u输钱不可怕,乱输才可怕;稳得住,才是真正的赢。
4 n4 e" w8 d5 H4 P% Q6 S4 Z' i4 [! z' I0 D
这两天论坛不少人也在分享台湾盘的节奏,我的经验是——宁可打慢,也不要乱节奏。未来几天我会继续观察走势,等连号或规律性区间出来,再考虑加仓。今天就到这,休息一会,晚上再看情况。0 I, f6 Z3 r. A( t9 v) T4 F5 z
4 x/ w7 ^, A# Y3 T/ L
QQ20251006-160203.png QQ20251006-160102.png $ K; ~" ?$ [: `, A! N$ [7 F

1 _3 {% {3 S; |* u' L# Y9 N; a' p% M: `* p2 D: R' s9 h) C3 V. L6 B& A' |3 u
回复

使用道具 举报

1

主题

4994

回帖

4198

金币

金牌会员

积分
23389

老会员

发表于 2025-10-6 16:22 | 显示全部楼层
楼主亏损了还是要止损,回血了一大半还是挺不错了
回复 支持 反对

使用道具 举报

197

主题

6859

回帖

148

金币

银牌会员

积分
13995

老会员交易勋章

发表于 2025-10-6 17:56 | 显示全部楼层
你还玩这个啊,我是真没玩过这类彩票,是彩票没错吧,止损做到位就好
回复 支持 反对

使用道具 举报

7

主题

1万

回帖

8814

金币

千足金牌会员

积分
66381

光影行者

发表于 2025-10-6 19:37 | 显示全部楼层
3050那把真够呛,能忍住不补仓已经赢一半,节奏乱时洗脸是个好招
回复 支持 反对

使用道具 举报

3382

主题

4万

回帖

821

金币

钻石用户

积分
110006

万时之王老会员勤奋勋章交易勋章

发表于 2025-10-6 19:48 | 显示全部楼层
老哥还是低调点吧, 亏损2450, 也是输太多了, 还是要及时收手,真不敢继续了
回复 支持 反对

使用道具 举报

3382

主题

4万

回帖

821

金币

钻石用户

积分
110006

万时之王老会员勤奋勋章交易勋章

发表于 2025-10-6 19:49 | 显示全部楼层
蔬菜沙拉 发表于 2025-10-6 19:377 V. T9 A% Q5 Q" J$ K
3050那把真够呛,能忍住不补仓已经赢一半,节奏乱时洗脸是个好招
  b8 i3 I+ U0 I. F1 Y6 E) y
玩菠菜还是量力而行吧, 别玩太大了, 输太多了, 也是很影响心情了。
回复 支持 反对

使用道具 举报

3382

主题

4万

回帖

821

金币

钻石用户

积分
110006

万时之王老会员勤奋勋章交易勋章

发表于 2025-10-6 19:49 | 显示全部楼层
二电厂哥 发表于 2025-10-6 17:56
* N- v$ ^& `+ Q* g6 [. S你还玩这个啊,我是真没玩过这类彩票,是彩票没错吧,止损做到位就好

7 B& @: s6 l6 T' P% `8 ~4 R亏损了2450也是输太多了, 这钱能干很多事的了啊, 也是很遗憾了。
回复 支持 反对

使用道具 举报

3382

主题

4万

回帖

821

金币

钻石用户

积分
110006

万时之王老会员勤奋勋章交易勋章

发表于 2025-10-6 19:50 | 显示全部楼层
shunlifeiup 发表于 2025-10-6 16:22
; U9 i: K) n9 p楼主亏损了还是要止损,回血了一大半还是挺不错了

5 X" [/ H- |  r  Z+ v! R" p6 ~损失惨重了呀, 输了这么多, 想回血都是很困难了啊, 还是休息冷静一下吧。
回复 支持 反对

使用道具 举报

355

主题

1550

回帖

5626

金币

银牌会员

积分
15322

老会员交易勋章

发表于 2025-10-6 21:07 | 显示全部楼层
能够及时做到止损啊 还是很不容易的   及时调整吧!
回复 支持 反对

使用道具 举报

50

主题

2万

回帖

2631

金币

千足金牌会员

积分
63791

老会员光影行者

发表于 2025-10-7 02:34 | 显示全部楼层
别急着追,理性把握,稳住节奏,总会有赚钱的时候,节制至关重要
回复 支持 反对

使用道具 举报

50

主题

2万

回帖

2631

金币

千足金牌会员

积分
63791

老会员光影行者

发表于 2025-10-7 02:34 | 显示全部楼层
蔬菜沙拉 发表于 2025-10-6 19:37$ F! k' N/ ^3 `6 K/ b
3050那把真够呛,能忍住不补仓已经赢一半,节奏乱时洗脸是个好招

# r- p. u+ \+ z( @# a3050那把确实有点狼狈,不过威尼斯人台湾宾果稳住节奏,亏损2450也算是及时止损
回复 支持 反对

使用道具 举报

2335

主题

7万

回帖

7926

金币

海燕硕士

积分
220685

老会员超级精华精华勋章美女勋章勤奋勋章交易勋章万时之王

发表于 2025-10-7 05:46 | 显示全部楼层
输掉了2000多块能够止损离开也是比较理智的一个人吧
回复 支持 反对

使用道具 举报

2335

主题

7万

回帖

7926

金币

海燕硕士

积分
220685

老会员超级精华精华勋章美女勋章勤奋勋章交易勋章万时之王

发表于 2025-10-7 05:46 | 显示全部楼层
whywhy 发表于 2025-10-7 02:343 i4 ]- T6 S! a3 L4 D
3050那把确实有点狼狈,不过威尼斯人台湾宾果稳住节奏,亏损2450也算是及时止损 ...
& K  e/ O* p, X1 j- ~( {" t( p
反正自己的节奏要把握好,不然输的就是自己的钱
回复 支持 反对

使用道具 举报

2335

主题

7万

回帖

7926

金币

海燕硕士

积分
220685

老会员超级精华精华勋章美女勋章勤奋勋章交易勋章万时之王

发表于 2025-10-7 05:46 | 显示全部楼层
whywhy 发表于 2025-10-7 02:341 g* \4 G6 I; C: f0 ~% V
别急着追,理性把握,稳住节奏,总会有赚钱的时候,节制至关重要
5 I. d/ z( e6 [5 D2 p% C& g
这个节奏导致的亏损也是没有办法的事,毕竟输了这么多
回复 支持 反对

使用道具 举报

2335

主题

7万

回帖

7926

金币

海燕硕士

积分
220685

老会员超级精华精华勋章美女勋章勤奋勋章交易勋章万时之王

发表于 2025-10-7 05:46 | 显示全部楼层
莫扎特06 发表于 2025-10-6 19:49$ @7 a/ w  ~; E! m
亏损了2450也是输太多了, 这钱能干很多事的了啊, 也是很遗憾了。

+ y) D) W0 i  C& Z输的太多也是要想办法把它搞回来,不然也是难受
回复 支持 反对

使用道具 举报

您需要登录后才可以回帖 登录 | 立即注册

本版积分规则

广告合作|评测有奖|福利汇|论坛简介|钱包合集|手机版|小黑屋|Archiver|海燕论坛

快速回复 返回顶部 返回列表