找回密码
 立即注册
澳门威尼斯人
U8
U18
海燕招商
A
蓝盾
e世博
islot.
申博亚洲
B
开云
腾博会
德信
C级广告商
吉祥坊
米兰
华体会
查看: 16803|回复: 68

[彩票] 【实战有奖】今天到腾博会玩了彩票赢了好几十

[复制链接]

1199

主题

3万

回帖

1万

金币

钻石用户

积分
110990

老会员交易勋章光影行者

发表于 2025-11-24 21:25 | 显示全部楼层 |阅读模式

马上注册,结交更多好友,享用更多功能,让你轻松玩转社区。

您需要 登录 才可以下载或查看,没有账号?立即注册

×
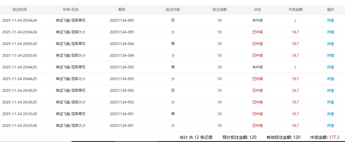
      今天到腾博会玩了一下彩票了啊。实在是一个好的运气了啊。今天就赢了不少的啊。也是非常的开心的啊。今天下注了120的流水,竟然是的了177的金额,所以我算是赢了57大洋的啊。实在是非常的好的啊。我也是很满意的啊。+ [$ \0 B2 ?" J. }5 {

5 Z+ [- J' Y; y% j0 q* z      今天呢,我就是去玩了这个幸运飞艇的啊。也是玩的冠军的位置了啊。9 V: K& p0 r9 B5 t0 v- r5 J
      第一期下注的是大和单的一个方向了啊。每个下注了10元了 啊 。结果出来了。是小和单了啊。所以我的投注也是一红一黑了啊。。所以也是没有什么的啊。反正也是不输了啊。
8 S( f- @2 Q7 ?      第2期了啊。我就是下注了小和单了啊。下注了10元一个的啊。结果呢,也是真的是很不错的啊。竟然是一个2红了啊这样我就赢了20了啊。实在是非常的不错的啊。
1 @6 j3 F) o6 l     第3期呢,我就是下注了小和双的啊。一共下注了20了 。结果出来,竟然是又对了啊。我又是一个2红了啊。我又盈利了20大洋了 这样就一共赢了40啦 。实在是很不错的啊。我也是很满意的啊。
$ u4 l5 j5 ]# W( W     第4期开始,我就没有什么心理压力了 。我继续下注。我买小和单,每个10元。结果出来,是小双了。于是我就是又来了一个一红一黑的结果。反正就是平局,我是没有输的啊。4期下来,我还是赢了40了啊。6 ~+ o* l# J3 }* u
     第5期呢,我去买小和单了。还是每个10元。这次运气又是很好的。我又是一个2红了 啊。于是我的盈利就来到了60了啊。是只是非常爽了啊。我实在是没有想到今天的路子就是按照我的思想来的啊。
6 T; p" t, m$ F( x6 G     因为打得比较顺,我就没有注意期数,没有注意流水。就继续搞了一期。第6期,我买了小和双的了。结果出来了,是小单。所以我的投注是一红一黑的啊。反正这把没有输。那么今天我下注了12手,中了9手,净胜6手,实在是很理想的一个结果了啊。  ^' A) s( W- M/ G2 |
     最终我的盈利是57元多,是因为有抽水的原因了啊。之所以能赢,归根结底,还是运气好。! ^! X6 o  t9 L6 s: g
99.JPG : S0 i; g9 C9 N/ `9 T: E
回复

使用道具 举报

102

主题

6156

回帖

2291

金币

银牌会员

积分
19490

老会员

发表于 2025-11-24 21:30 | 显示全部楼层
楼主有收获的成绩比较理想了,期待有更好的发挥
回复 支持 反对

使用道具 举报

278

主题

1万

回帖

4129

金币

金牌会员

积分
33608

老会员光影行者

发表于 2025-11-25 05:11 | 显示全部楼层
只要是能够赢钱,都是比较高兴的,希望以后都能有个好的结果了。
回复 支持 反对

使用道具 举报

1412

主题

7万

回帖

1830

金币

钻石用户

积分
191948

万时之王老会员精华勋章勤奋勋章交易勋章光影行者

发表于 2025-11-25 06:20 | 显示全部楼层
可以赢钱的结果真是太给力了,还是要多多祝贺一下楼主成功收米的了。
回复 支持 反对

使用道具 举报

1412

主题

7万

回帖

1830

金币

钻石用户

积分
191948

万时之王老会员精华勋章勤奋勋章交易勋章光影行者

发表于 2025-11-25 06:21 | 显示全部楼层
易天一人 发表于 2025-11-24 21:30- i, h# ]4 D1 g6 O" e2 F) k3 d
楼主有收获的成绩比较理想了,期待有更好的发挥
2 d4 Q* m' \7 J% ~* W% j0 `
还是非常理想的成绩,楼主是个很厉害的高手要跟着学习一下的。
回复 支持 反对

使用道具 举报

1412

主题

7万

回帖

1830

金币

钻石用户

积分
191948

万时之王老会员精华勋章勤奋勋章交易勋章光影行者

发表于 2025-11-25 06:21 | 显示全部楼层
没牙的兔子 发表于 2025-11-25 05:11
- C2 s, _, W; ~. }8 x4 I5 L) v7 s只要是能够赢钱,都是比较高兴的,希望以后都能有个好的结果了。
8 `8 W& {: z1 i9 ?3 i/ Z8 A5 z
能够赢钱的结果确实是很高兴的,希望是可以保持住这样的好运气吧 。
回复 支持 反对

使用道具 举报

1199

主题

3万

回帖

1万

金币

钻石用户

积分
110990

老会员交易勋章光影行者

 楼主| 发表于 2025-11-25 06:47 来自手机 | 显示全部楼层
易天一人 发表于 2025-11-24 21:30
# c" ]- Q* x2 y, n3 x& q楼主有收获的成绩比较理想了,期待有更好的发挥
( s( m4 m8 o! S$ q2 O# }
今天的这个成绩的确是很不错的了,这也是感觉到运气很好的了
回复 支持 反对

使用道具 举报

1199

主题

3万

回帖

1万

金币

钻石用户

积分
110990

老会员交易勋章光影行者

 楼主| 发表于 2025-11-25 06:47 来自手机 | 显示全部楼层
没牙的兔子 发表于 2025-11-25 05:11& f. K: D  L: ?$ |+ N5 O
只要是能够赢钱,都是比较高兴的,希望以后都能有个好的结果了。
. _% i3 x; M8 \% G+ W7 e
我们永远都是希望自己有一个好的结果的了,我们一定要加油的啦
回复 支持 反对

使用道具 举报

1199

主题

3万

回帖

1万

金币

钻石用户

积分
110990

老会员交易勋章光影行者

 楼主| 发表于 2025-11-25 06:47 来自手机 | 显示全部楼层
cwx1994 发表于 2025-11-25 06:20
# s7 i, I( Z: Q5 |, i4 h7 u! P可以赢钱的结果真是太给力了,还是要多多祝贺一下楼主成功收米的了。
8 y1 Z  j- h9 I) h* p" y, ]/ S
这也不得不说是幸运的一件事情了,我们都是不断的努力之中的了
回复 支持 反对

使用道具 举报

1199

主题

3万

回帖

1万

金币

钻石用户

积分
110990

老会员交易勋章光影行者

 楼主| 发表于 2025-11-25 06:47 来自手机 | 显示全部楼层
cwx1994 发表于 2025-11-25 06:21' B4 e8 w5 \* K% T+ m6 R. a
还是非常理想的成绩,楼主是个很厉害的高手要跟着学习一下的。
0 q; N0 N! z7 Y: w
高手谈不上的啦,大家还是彼此互相的学习一下吧
回复 支持 反对

使用道具 举报

1199

主题

3万

回帖

1万

金币

钻石用户

积分
110990

老会员交易勋章光影行者

 楼主| 发表于 2025-11-25 06:47 来自手机 | 显示全部楼层
cwx1994 发表于 2025-11-25 06:21
5 b) _! P3 k! \$ i, I0 a; |能够赢钱的结果确实是很高兴的,希望是可以保持住这样的好运气吧 。

) x5 N# k8 x) v- }/ Z6 Y希望是可以保持的啦,不过我们心里也是要做好其他的思想准备的啦
回复 支持 反对

使用道具 举报

2148

主题

7万

回帖

3666

金币

钻石用户

积分
198412

万时之王老会员精华勋章美女勋章勤奋勋章交易勋章

发表于 2025-11-25 07:35 | 显示全部楼层
能够赚个几十块钱以上很好的了玩游戏嘛都喜欢赚钱的钱
回复 支持 反对

使用道具 举报

2148

主题

7万

回帖

3666

金币

钻石用户

积分
198412

万时之王老会员精华勋章美女勋章勤奋勋章交易勋章

发表于 2025-11-25 07:35 | 显示全部楼层
猴哥打野 发表于 2025-11-25 06:47/ }* J3 D& m1 E" K1 P8 e/ P9 V
希望是可以保持的啦,不过我们心里也是要做好其他的思想准备的啦
- z6 x3 H( Y# t/ ~2 X: V/ h4 ~% b4 o
想要保持下去不是那么容易的事,我们也是希望有个好运
回复 支持 反对

使用道具 举报

2148

主题

7万

回帖

3666

金币

钻石用户

积分
198412

万时之王老会员精华勋章美女勋章勤奋勋章交易勋章

发表于 2025-11-25 07:35 | 显示全部楼层
cwx1994 发表于 2025-11-25 06:21& s% |5 y  @$ m/ ]/ _) V+ j
还是非常理想的成绩,楼主是个很厉害的高手要跟着学习一下的。

& ?7 w) F) Y* l0 r4 T# M这次比较明显的话,要保持一下才能玩的长久呀
回复 支持 反对

使用道具 举报

1804

主题

5万

回帖

5124

金币

钻石用户

积分
169555

万时之王老会员勤奋勋章交易勋章

发表于 2025-11-25 07:57 | 显示全部楼层
没牙的兔子 发表于 2025-11-25 05:11# r8 ?. F& G. f3 d2 j6 l+ w& g. u
只要是能够赢钱,都是比较高兴的,希望以后都能有个好的结果了。

3 q8 m9 T; S# P这样的收入那是真的非常高兴的但是以后什么结果这个不好说的1 m$ V9 w* D4 [7 f6 P- J
回复 支持 反对

使用道具 举报

您需要登录后才可以回帖 登录 | 立即注册

本版积分规则

广告合作|评测有奖|福利汇|论坛简介|钱包合集|手机版|小黑屋|Archiver|彩票开奖|海燕论坛

快速回复 返回顶部 返回列表