找回密码
 立即注册
澳门威尼斯人
U8
U18
海燕招商
A
蓝盾
e世博
islot.
申博亚洲
澳门银河
B
腾博会
德信
C级广告商
吉祥坊
查看: 1387|回复: 94

[彩票] 晚上的彩票非常顺利收米390多块钱

[复制链接]

66

主题

2731

回帖

2283

金币

银牌会员

积分
11458

老会员

发表于 2026-3-14 18:41 | 显示全部楼层 |阅读模式

马上注册,结交更多好友,享用更多功能,让你轻松玩转社区。

您需要 登录 才可以下载或查看,没有账号?立即注册

×
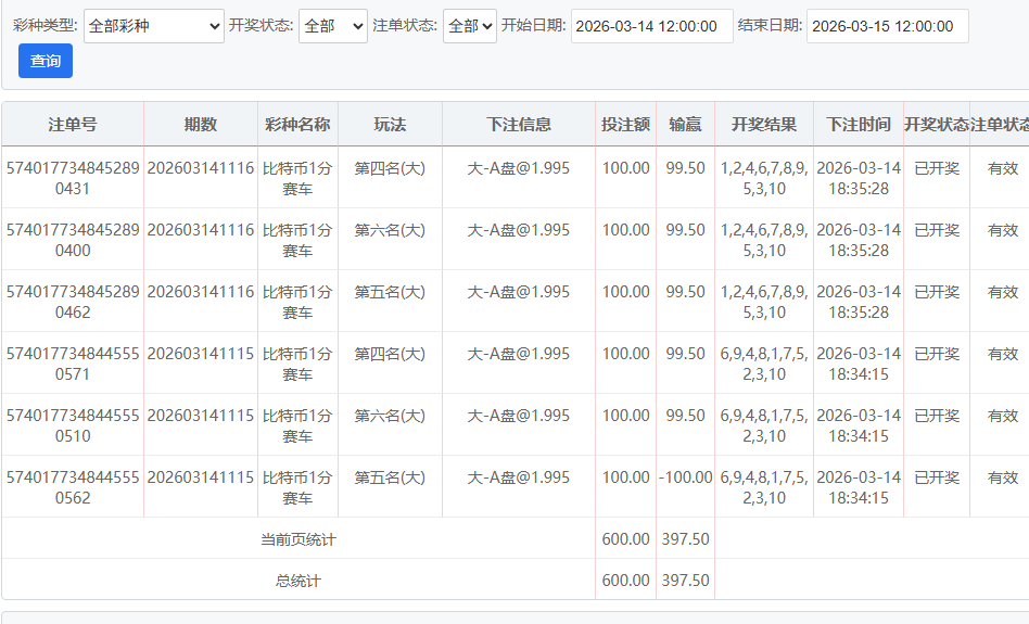
晚上的比特赛车居然能顺利赢到390多块钱,依旧是按100-200-300-450-600的节奏来下注。
( X/ h* |- d9 _* Z 1.jpg
% L: g; W0 O8 u 2.jpg 9 [' l& f% Q+ s
) X) L  `3 T$ s  v

; i/ v2 N* O) L- N# z0 d$ I4 s7 o' \4 m  ]
5 v. U1 R4 o* \

评分

参与人数 1金币 +6 收起 理由
海燕RG + 6 实战分享

查看全部评分

回复

使用道具 举报

215

主题

1万

回帖

2257

金币

千足金牌会员

积分
44856

老会员

发表于 2026-3-14 19:58 | 显示全部楼层
楼主玩彩票游戏非常有策略,更多结果来看也是有效果收获
回复 支持 反对

使用道具 举报

4

主题

148

回帖

788

金币

高级用户

积分
2054
发表于 2026-3-14 20:06 | 显示全部楼层
还是楼主高啊,这场令人满意   
回复 支持 反对

使用道具 举报

8

主题

2万

回帖

5995

金币

铂金用户

积分
73112

光影行者

发表于 2026-3-14 20:38 | 显示全部楼层
这节奏稳得一批,小步慢跑不贪真能扛住波动,下次试试前几轮压更轻点
回复 支持 反对

使用道具 举报

4

主题

9509

回帖

5103

金币

金牌会员

积分
38195
发表于 2026-3-15 02:24 | 显示全部楼层
比特赛车按那阶梯节奏下居然收了390多,顺的时候这注码走得还挺稳啊
回复 支持 反对

使用道具 举报

1591

主题

8万

回帖

2万

金币

海燕硕士

积分
263159

万时之王老会员精华勋章勤奋勋章交易勋章光影行者

发表于 2026-3-15 05:48 | 显示全部楼层
楼主也是非常给力的收米了,非常满意的成绩
回复 支持 反对

使用道具 举报

1591

主题

8万

回帖

2万

金币

海燕硕士

积分
263159

万时之王老会员精华勋章勤奋勋章交易勋章光影行者

发表于 2026-3-15 05:48 | 显示全部楼层
蔬菜沙拉 发表于 2026-3-14 20:38; x) Q/ t- c8 f' K. `1 A4 P* J5 G
这节奏稳得一批,小步慢跑不贪真能扛住波动,下次试试前几轮压更轻点
4 w: U4 @5 z) D/ S( u
我们都是非常喜欢这样的盈利,要祝贺一下楼主的
回复 支持 反对

使用道具 举报

1591

主题

8万

回帖

2万

金币

海燕硕士

积分
263159

万时之王老会员精华勋章勤奋勋章交易勋章光影行者

发表于 2026-3-15 05:48 | 显示全部楼层
思维认知 发表于 2026-3-15 02:24
' H6 T- I& L# {' ]7 Q比特赛车按那阶梯节奏下居然收了390多,顺的时候这注码走得还挺稳啊
1 f0 J/ m5 A" m2 n
楼主是个玩彩票的高手,非常让人羡慕的了
回复 支持 反对

使用道具 举报

7

主题

1万

回帖

8075

金币

千足金牌会员

积分
59786

老会员光影行者

发表于 2026-3-15 06:32 | 显示全部楼层
节奏控制得不错,390的收益确实让人心里舒坦,这个下注模式挺稳的
回复 支持 反对

使用道具 举报

0

主题

2746

回帖

5383

金币

银牌会员

积分
18868
发表于 2026-3-15 06:56 | 显示全部楼层
比特赛车这节奏居然能捞到390多?100起步一步步加居然没翻船,手气是真顺啊,羡慕了
回复 支持 反对

使用道具 举报

0

主题

2746

回帖

5383

金币

银牌会员

积分
18868
发表于 2026-3-15 06:57 | 显示全部楼层
思维认知 发表于 2026-3-15 02:24/ y3 g* k* ~' _# U0 ~
比特赛车按那阶梯节奏下居然收了390多,顺的时候这注码走得还挺稳啊

$ z  A# {/ P: c4 _9 m2 G6 W, |' _/ j比特赛车那阶梯节奏居然稳收390多,顺的时候注码走得还挺舒服,看来摸对节奏是真省心,不像有时候瞎搞乱飘
回复 支持 反对

使用道具 举报

2477

主题

8万

回帖

5083

金币

海燕硕士

积分
226304

老会员超级精华精华勋章美女勋章勤奋勋章交易勋章万时之王

发表于 2026-3-15 07:22 | 显示全部楼层
彩票可以赚到这么多的钱也不容易
回复 支持 反对

使用道具 举报

2477

主题

8万

回帖

5083

金币

海燕硕士

积分
226304

老会员超级精华精华勋章美女勋章勤奋勋章交易勋章万时之王

发表于 2026-3-15 07:22 | 显示全部楼层
NO.2 发表于 2026-3-15 06:57, q" E' h7 U8 n
比特赛车那阶梯节奏居然稳收390多,顺的时候注码走得还挺舒服,看来摸对节奏是真省心,不像有时候瞎搞乱 ...

' ^8 F" p0 T% b7 @% f有个好的节奏才能稳定的搞钱来的呀
回复 支持 反对

使用道具 举报

2477

主题

8万

回帖

5083

金币

海燕硕士

积分
226304

老会员超级精华精华勋章美女勋章勤奋勋章交易勋章万时之王

发表于 2026-3-15 07:22 | 显示全部楼层
cwx1994 发表于 2026-3-15 05:48* _: j9 h% V$ Q) f' q
楼主是个玩彩票的高手,非常让人羡慕的了

" _# o8 R( |. v: V. D确实也算一个高手吧,这样才能赚到钱
回复 支持 反对

使用道具 举报

2477

主题

8万

回帖

5083

金币

海燕硕士

积分
226304

老会员超级精华精华勋章美女勋章勤奋勋章交易勋章万时之王

发表于 2026-3-15 07:22 | 显示全部楼层
123 发表于 2026-3-14 20:06
" Q$ t/ o2 ^& o' ?- B还是楼主高啊,这场令人满意
6 h" v; T5 W- G
也没有什么好羡慕的吧,几百块钱而已
回复 支持 反对

使用道具 举报

您需要登录后才可以回帖 登录 | 立即注册

本版积分规则

广告合作|福利汇|论坛简介|钱包教程|手机版|小黑屋|Archiver|海燕论坛

快速回复 返回顶部 返回列表